LMZ-Ⅱ(MLL-Ⅱ)型帶制動輪梅花形彈性聯軸器
產品分類: 梅花形彈性聯軸器
梅花形彈性聯軸器具有以下特點:花形彈性聯軸器結構簡單,徑向尺寸小,重量輕,轉動慣量小,適用于中高速場合,梅花形彈性聯軸器工作穩定可靠,具有良好的減振、緩沖和電絕緣性能。
訂購熱線:15326245655
立即咨詢 產 品 說 明
LMZ-Ⅱ(原MLL-Ⅱ)型帶制動輪梅花形彈性聯軸器(GB5272-2002替代GB5272-85)
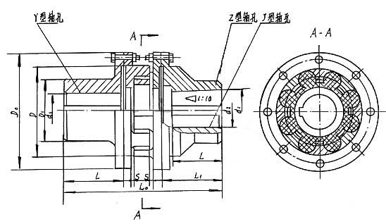
●梅花形彈性聯軸器是由兩個帶凸爪形狀相同的半聯軸器和彈性元件組成,利用梅花形彈性元件置于兩半聯軸器凸爪之間,以實現兩半聯軸器的聯接。具有補償兩軸相對偏移、減振、緩沖、徑向尺寸小、結構簡單、不用潤滑、承載能力較高、維護方便等特點,但更換彈性元件時兩半聯軸器需沿軸向移動。適用于聯接兩同軸線、起動頻繁、正反轉變化、中低速、中小功率傳動軸系、要求工作可靠性高的工作部位,不適用于重載及軸向尺寸受限制、更換彈性元件后兩軸線對中困難的部位。
標準修訂后,梅花形彈性元件的材料有聚氨脂和鑄形尼龍兩種。根據不同工況條件選用不同材料,如風機、水泵、輕工、紡織等工作平穩、載荷變化不大時,可選用聚氨脂。兩種材料的價格相差較大。
梅花形彈性聯軸器具有以下特點:花形彈性聯軸器結構簡單,徑向尺寸小,重量輕,轉動慣量小,適用于中高速場合,梅花形彈性聯軸器工作穩定可靠,具有良好的減振、緩沖和電絕緣性能。梅花形彈性聯軸器具有較大的軸向、徑向和角向補償能力,梅花形彈性聯軸器高強度聚氨酯彈性元件耐磨耐油,承載能力大,使用壽命長,安全可靠,聯軸器無需潤滑,維護工作量少,可連續長期運行。
梅花形彈性聯軸器主要適用于起動頻繁、正反轉、中高速、中等扭矩和要求高可靠性的工作場合,例如:冶金、礦山、石油、化工、起重、運輸、輕工、紡織、水泵、風機等。工作環境溫度 -35℃~+80℃,傳遞公稱扭矩25~12500Nm,許用轉速1500~15300r/min。
梅花形彈性聯軸器主要由兩個帶凸齒密切嚙合并承受徑向擠壓以傳遞扭矩,當兩軸線有相對偏移時,彈性元件發生相應的彈性變形,起到自動補償作用。
MLL-Ⅱ 型帶制動輪梅花形彈性聯軸器基本性能參數和主要尺寸

-
YLD型凸緣聯軸器
凸緣聯軸器(亦稱法蘭聯軸器)是利用螺栓聯接兩凸緣(法蘭) -
GL型滾子鏈聯軸器
曲面齒鏈輪聯軸器,鏈條聯軸器,GL型滾子鏈聯軸器,GL型滾子鏈連軸 -
LM(ML)系列梅花形彈性聯軸器
梅花形彈性聯軸器具有以下特點:花形彈性聯軸器結構簡單,徑向 -
GⅡCL型—鼓形齒式聯軸器
鼓形齒式聯軸器具有徑向、軸向和角向等軸線偏差補償能力,具


![[field:text/]](/uploads/allimg/131106/2-1311060920400-L.jpg)